metal detector wiring diagram

Single fire coil | Motorcycle wiring, Electrical wiring diagram. 17 Pictures about Single fire coil | Motorcycle wiring, Electrical wiring diagram : Metal Detector Wiring Diagram, Pin on Metal and also Simple BFO Metal Detector - Improved Circuit Design - YouTube.

Single Fire Coil | Motorcycle Wiring, Electrical Wiring Diagram

Single fire coil | Motorcycle wiring, Electrical wiring diagram www.pinterest.com

wiring fire single coil diagram motorcycle

[View 20+] Metal Detector Schematic Diagram

[View 20+] Metal Detector Schematic Diagram 7080polokiuiv.blogspot.com

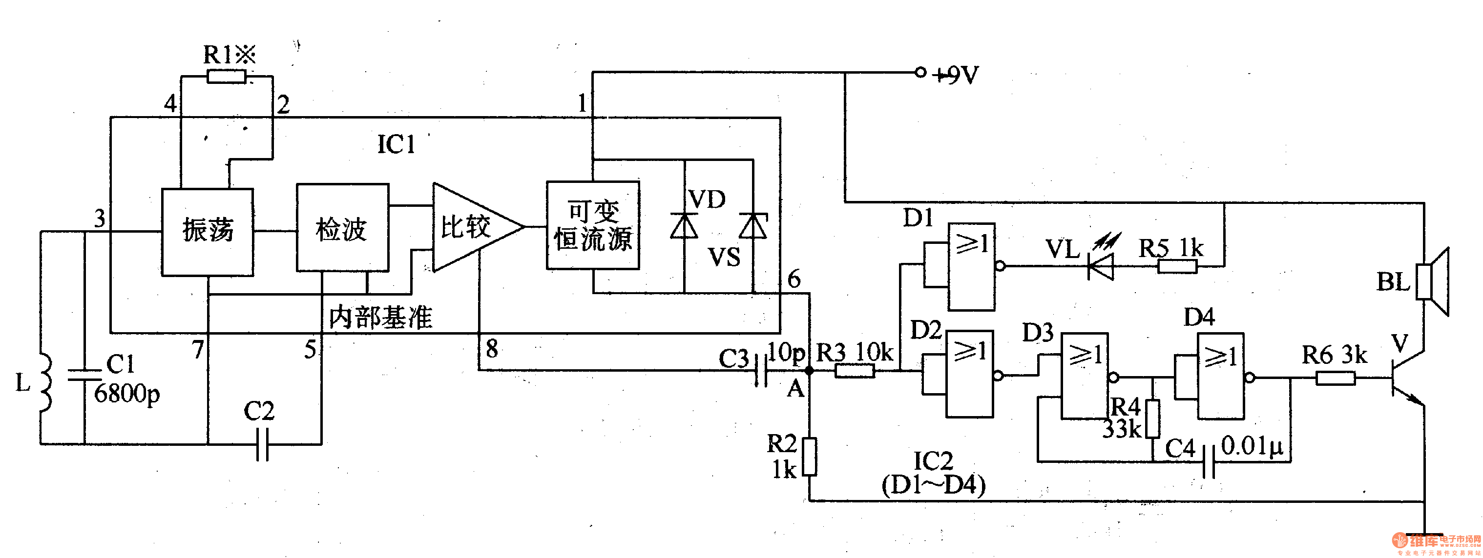
seekic

Metal Detector ~ ELECTRONICS EVERYDAY

Metal Detector ~ ELECTRONICS EVERYDAY electronicseveryday.blogspot.com

detector metal schematic

Metal Detector 5 - Basic_Circuit - Circuit Diagram - SeekIC.com

Metal detector 5 - Basic_Circuit - Circuit Diagram - SeekIC.com www.seekic.com

metal detector circuit seekic diagram

How To Wire A Sensor Light | TcWorks.Org

How To Wire A Sensor Light | TcWorks.Org www.tcworks.org

pir

Free Schematic Diagram: The Metal Detector Circuit

Free Schematic Diagram: The Metal Detector Circuit freeelectricalsandtools.blogspot.com

metal detector circuit schematic diagram 2009

Fire Alarm Circuit Diagram Using 555 Timer Electrical Diagram

Fire Alarm circuit diagram Using 555 timer Electrical Diagram www.pinterest.com

circuit diagram fire alarm timer using electronic wiring electrical projects

Metal Detector Circuit Diagram 5 - Basic_Circuit - Circuit Diagram

Metal detector circuit diagram 5 - Basic_Circuit - Circuit Diagram www.seekic.com

circuit detector metal diagram seekic circuits sound sensor oscillator gr consists

Metal Detector Wiring Diagram

Metal Detector Wiring Diagram sometimesawitch.blogspot.com

detector metal wiring diagram electronic kit easy diy

Access Control System And Door Interlocking System Service Provider

Access Control System and Door Interlocking System Service Provider www.indiamart.com

solution

2002 Gmc Yukon Denali Radio Wiring Diagram Collection - Wiring Diagram

2002 Gmc Yukon Denali Radio Wiring Diagram Collection - Wiring Diagram faceitsalon.com

tahoe denali envoy justanswer sensor schematron 1995 pisciculture o2 igniton

1970 Ford Alternator Wiring Diagram - Collection - Wiring Diagram Sample

1970 Ford Alternator Wiring Diagram - Collection - Wiring Diagram Sample faceitsalon.com

wiring ford f100 1978 f250 headcontrolsystem detoxicrecenze lexu tauru vortec wires

M 3482 Alarm Water Sensor Circuit | Audio Wiring Diagram

M 3482 Alarm Water Sensor Circuit | audio wiring diagram schematicwiringdiagram.blogspot.com

circuit water sensor alarm liquid diagram using schematic ic musical audio simple circuits bell activated hobby wiring sound sensors notes

Pin On Metal

Pin on Metal www.pinterest.com

Metal Detector ~ ELECTRONICS EVERYDAY

Metal Detector ~ ELECTRONICS EVERYDAY electronicseveryday.blogspot.com

detector metal schematic

Simple BFO Metal Detector - Improved Circuit Design - YouTube

Simple BFO Metal Detector - Improved Circuit Design - YouTube www.youtube.com

detector metal circuit simple bfo gold detecting

Metal Detector Circuit Diagram And Working | Metal Detector, Gold

Metal Detector Circuit Diagram and Working | Metal detector, Gold www.pinterest.com

detector metal circuit diagram projects gold electronics diy working arduino ic διαβάστε το simple

Access control system and door interlocking system service provider. Detector metal circuit diagram projects gold electronics diy working arduino ic διαβάστε το simple. Free schematic diagram: the metal detector circuit